Dit rechter LED achterlicht heeft een nieuw design en is uitgevoerd met een achteruitrijlamp. Door de 5 polige Aspock connector is deze lamp gemakkelijk aan te sluiten op een Aspock hoofdkabel. Zowel bij een 12 als 24 volt aansluiting te gebruiken.
Voorkom schade aan het lampglas van dit achterlicht door gebruik te maken van een beschermrek.
Ben je op zoek naar een complete verlichting set? Hier vind je onze verlichting sets bestaande uit 2 lampen en de bijpassende hoofdkabel. Onze verlichtingssets zijn plug & play en daardoor eenvoudig en snel te gebruiken.
Positionering: rechts
Inclusief: reflector
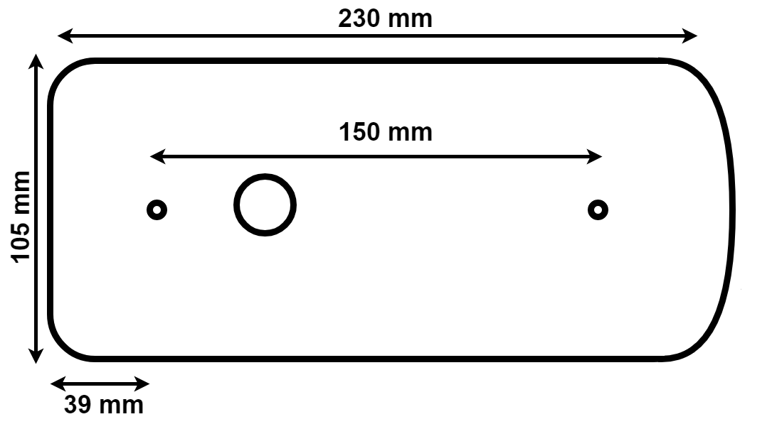
H.o.h. afstand: 150 mm
Specificaties leds:
- Knipperlicht: 5 leds
- Remlicht: 5 leds
- Kentekenverlichting: 3 leds
- Achteruitrijlamp: 10 leds
Exclusief: Aspock hoofdkabel (eenvoudig hieronder mee te bestellen)
Technische tekening

Instructietips